Naučnici sa Univerziteta u Šarži patentirali su inovativni uređaj za apsorpciju energije zemljotresa, koji koristi pesak ili slične zrnaste materijale kako bi značajno smanjio oštećenja na građevinama. Ovo rešenje predstavlja veliki korak u oblasti seizmičke zaštite.

Unutrašnjost kontejnera uključuje pomične ploče od čelika (Foto: Prof. Moussa Leblouba i Prof. Mostafa Zahri)
Za razliku od tradicionalnih sistema koji se oslanjaju na čelik ili složene mehaničke komponente, novi uređaj koristi kontejnere ispunjene peskom ili drugim česticama za apsorpciju energije potresa.
Profesor Moussa Leblouba, jedan od tvoraca patenta, istakao je da ovaj uređaj omogućava efikasno i pristupačno rešenje, posebno za niskobudžetne projekte.
Detalji uređaja i njegove funkcije
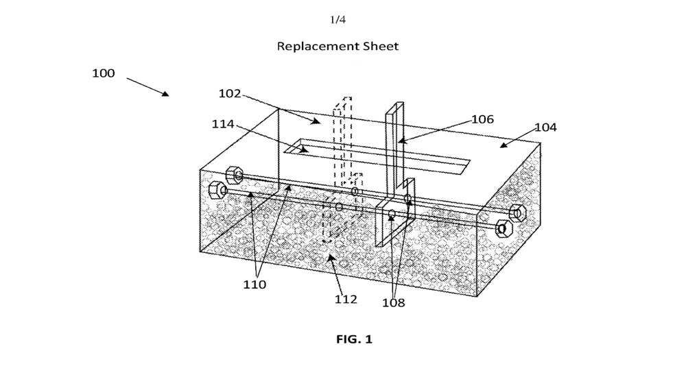
"Uređaj za apsorpciju energije na bazi čestica" sastoji se od specijalno dizajniranih kontejnera koji mogu biti različitih oblika i veličina. Unutrašnjost kontejnera uključuje pomične ploče od čelika i otvore koji omogućavaju pesku da se pomera i apsorbuje energiju.
Ovaj proces koristi prirodne osobine granularnih materijala, poput kompresije i prilagodljivosti, kako bi smanjio vibracije.
Eksperimenti su pokazali da ovaj uređaj može da poboljša stabilnost konstrukcija i smanji oštećenja za 37% do čak 75%. U poređenju sa postojećim sistemima, koji su često skupi i kompleksni za instalaciju, ovaj patent pruža jednostavno rešenje koje ne zahteva spoljašnje izvore energije.

Ovo je efikasno i pristupačno rešenje (Foto: Prof. Moussa Leblouba i Prof. Mostafa Zahri)
Prednosti i primena uređaja
Jedna od ključnih prednosti ovog sistema je njegova ekonomičnost. Delovi uređaja mogu se lako nabaviti u gvožđarama, što omogućava široku dostupnost. Osim za seizmičku zaštitu, uređaj se može koristiti za smanjenje efekata vetra ili vibracija izazvanih vozovima, čineći ga univerzalnim rešenjem za različite izazove u građevinarstvu.
Prema rečima profesora Leblube, uređaj se može prilagoditi specifičnim zahtevima svakog objekta, a dodatkom novih komponenti može se dodatno povećati njegov kapacitet apsorpcije energije.
Profesor Mostafa Zahri, jedan od vlasnika patenta, navodi da patent Univerziteta u Šarži dolazi u ključnom trenutku kada je potreba za seizmičkom zaštitom sve veća. Kombinacija inovativnog pristupa i pristupačne tehnologije čini ovaj uređaj značajnim doprinosom sigurnosti građevina širom sveta.
Ovo rešenje pokazuje da inovacije mogu biti jednostavne, ali izuzetno efikasne, pružajući sigurnost bez kompromisa.

































;